64-1074-59 suction bell VKU-1000
laboratoryworkbench

64-1074-59 suction bell VKU-1000

model: 64-1074-59
brand: Kiriyama glass Co.

Product Description

Product Model: 64-1074-59Product Brand: Kiriyama glass […]

Contact Us

Hotline

18866622123

WeChat

WeChat ID: 18866622123

WeChat QR Code

Product Details

Product Model: 64-1074-59
Product Brand: Kiriyama glass Co.

Features

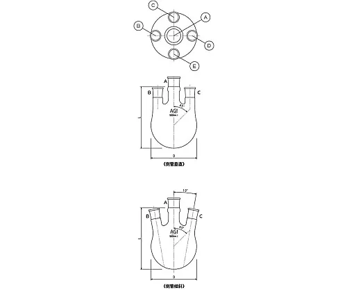
  • Please refer to "Kiriyama suction bell bell jar size chart" for each size.

Spec

  • inner diameter φ mm : 165
  • Inner height Hmm (1): 185
  • Inner height Hmm (2): 250
  • Joint Size: TS 19/28

Related product recommendations

You may also be interested in the following products

62-6653-44 AP Octagonal Cup -87 Fitting Lid Eco (50 Pieces) XKT7202
laboratoryworkbench
61-4378-01 PTFE Buchner Funnel 40φ 50mL F-1132-01
laboratoryworkbench
61-3631-70 [Discontinued]5 Neck Flask 20L 55/50・24/40 3130-20-10L4L
laboratoryworkbench
68-2009-20 Vent Filter 1 Case (3 Pieces) 223-0030
laboratoryworkbench

68-2009-20 Vent Filter 1 Case (3 Pieces) 223-0030

model: 68-2009-20 brand: Nalge Nunc (Thermo Fisher Scientific)