laboratoryworkbench
62-6653-39 Box lunch container with transparent lid (100 sets) LC-9
Product Description
Product Model: 62-6653-39Product Brand: FUKUSUKE KOGYO […]
Contact Us
Product Details
Product Model: 62-6653-39
Product Brand: FUKUSUKE KOGYO
Spec
- Width x Depth x Height (mm): 230 x 156 x 35 Materials: Polystyrene, Number of Pieces: 100 Set, Number of Pieces: 8 Case, Item Number: GBV1804, Catalog Code: 8-0950-0704
Related product recommendations
You may also be interested in the following products
65-3777-46 Micro Tube, 1.2 ml, Rack for Robot, Sterilized, 960 Pieces Included 3487
model: 65-3777-46
brand: Thermo scientific
4-2058-12 Cap for UN Compatible square containers 5/10 L 2000095901
model: 4-2058-12
brand: KAUTEX
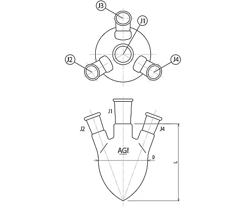
63-4257-18 Hertzian Type Three-Neck Flask 50mL F12-2-1
model: 63-4257-18
brand: Kiriyama glass Co.